Salvatore Pais
Born
Salvatore Cezar Pais
Occupation(s)Aerospace engineer, inventor
Academic background
Alma materCase Western Reserve University
Thesis"Bubble generation under reduced gravity conditions for both co-flow and cross-flow configurations" (1999)
Doctoral advisorYasuhiro Kamotani
Academic work
DisciplineEngineer
Main interestsPhysics of low gravity

Salvatore Cezar Pais is an American aerospace engineer and inventor, currently working for the United States Space Force. He formerly worked at the Naval Air Station Patuxent River. His patent applications for the US Navy attracted attention for their potential energy-producing applications, but also doubt about their feasibility, and speculation that they may be scams, pseudoscience, or disinformation intended to mislead the United States' adversaries.[1]

Education and doctoral research

Diagram of a reduced-gravity manoeuvre known as parabolic flight of the type Pais undertook during his PhD research. Source: NASA

Salvatore Pais attended Case Western Reserve University in Ohio, getting an MS in 1993 with a thesis titled "Design of an experiment for observation of thermocapillary convection phenomena in a simulated floating zone under microgravity conditions".[2] He got a PhD in mechanical and aerospace engineering in 1999 with a thesis on the subject of "Bubble generation under reduced gravity conditions for both co-flow and cross-flow configurations" for which he endured a number of parabolic flights to produce a low-gravity environment.[3] His doctoral advisers were Yasuhiro Kamotani and Simon Ostrach, who carried out spacelab experiments in low-gravity aboard the space shuttle STS-50 in 1992.[4] Pais's research was sponsored by NASA.[5]

Career

Drawing from Pais's patent application for a "craft using an inertial mass reduction device"[6]
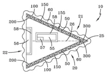
Drawing from Pais's patent application for a "plasma compression fusion device"[7]

Pais worked as a scientist and aerospace engineer at the United States Navy's Naval Air Station Patuxent River. In June 2019 he left the NAWCAD and moved to the US Navy's Strategic Systems Programs organization. In 2021, he transferred to the U.S. Air Force.[8]

Starting in 2015, he began filing patent applications on behalf of his employers with futuristic-sounding names suggesting potential military and energy-producing applications. No working prototype of any of these concepts was ever developed.[9] These attracted attention, as well as speculation that they may be disinformation intended to mislead the United States' strategic adversaries about the direction of United States defense research.[1]

His patent applications include:

  • A "piezoelectricity-induced room temperature superconductor" with the function of enabling "the transmission of electrical power with no losses."(2017).[10][11] The Institution of Engineering and Technology commented that no evidence was presented to show that the device worked, and that the highest temperature superconductors so far created worked at around -70 °C.[12]
  • A "plasma compression fusion device" (2018),[7][13][14] described by Popular Mechanics as a "compact nuclear fusion reactor" that "stretch[es] the limits of science."[15]
  • An "electromagnetic field generator and method to generate an electromagnetic field" (2015), the principal stated application of which is to deflect asteroids that may hit the Earth. The patent is assigned to the US Secretary of the Navy.[16]
  • A "craft using an inertial mass reduction device" (2016), one embodiment of which could be a high speed "hybrid aerospace/undersea craft" able to "engineer the fabric of our reality at the most fundamental level",[6] the patent application for which was supported by the Naval Aviation Enterprise's chief technical officer on the grounds that the Chinese military were already developing similar technology.[1]
  • A "high frequency gravitational wave generator" that may be used "for advanced propulsion, asteroid disruption and/or deflection, and communications through solid objects."(2017).[17]

Testing on the feasibility of a High Energy Electromagnetic Field Generator (HEEMFG) occurred from October 2016 to September 2019; at a total cost of $508,000 over three years. The vast majority of expenditure was on salaries. The "Pais Effect" could not be proven and no further research was conducted.[8] Brett Tingley wrote for The Drive that "Despite every physicist we have spoken to over the better part of two years asserting that the "Pais Effect" has no scientific basis in reality and the patents related to it were filled with pseudo-scientific jargon, NAWCAD confirmed they were interested enough in the patents to spend more than a half-million dollars over three years developing experiments and equipment to test Pais' theories".[8] Pais remained defiant regarding the veracity of his theories, in an email to The Drive he wrote that his work "culminates in the enablement of the Pais Effect...as far as the doubting SMEs (Subject Matter Experts) are concerned, my work shall be proven correct one fine day...".[8]

Selected publications

Scientific literature

  • Pais, Salvatore Cezar (September 1, 1991). "The Induced Thrust Effect; A Propulsion Method". Aerospace sector. SAE Technical Papers (SAE Technical Paper). Society of Automobile Engineers Technical International Papers. 1 (912234). doi:10.4271/912234. ISSN 0148-7191.
  • Pais, Salvatore Cezar (2015). "Conditional possibility of spacecraft propulsion at superluminal speeds". International Journal of Space Science and Engineering (published May 12, 2015). 3 (1): 89–92. Bibcode:2015IJSSE...3...89P. doi:10.1504/IJSPACESE.2015.069339.
  • Pais, Salvatore Cezar (2015). "The high energy electromagnetic field generator". International Journal of Space Science and Engineering (published April 12, 2016). 3 (4): 312–317. Bibcode:2015IJSSE...3..312P. doi:10.1504/IJSPACESE.2015.075910.
  • Pais, Salvatore Cezar (September 19, 2017). "High Frequency Gravitational Waves - Induced Propulsion". Aerospace sector. SAE Technical Papers (SAE Technical Paper). Society of Automobile Engineers Technical International Papers. 1 (2017–01–2040). doi:10.4271/2017-01-2040. ISSN 0148-7191.
  • A Hybrid craft using an inertial mass modification device. AIAA Space Forum 2017-5343. American Institute of Aeronautics and Astronautics (AIAA) (published September 15, 2017). 2017. doi:10.2514/6.2017-5343.
  • Room Temperature Superconducting System for use on a Hybrid Aerospace-Undersea Craft. AIAA Scitech Forum 2019-0869. American Institute of Aeronautics and Astronautics (AIAA) (published January 6, 2019). 2019. doi:10.2514/6.2019-0869.

Patent literature

  • "Craft using an inertial mass reduction device". USPTO (10144532). December 4, 2018.
  • "High frequency gravitational wave generator". USPTO (10322827). June 18, 2019.
  • "Electromagnetic field generator and method to generate an electromagnetic field". USPTO (10135366). November 20, 2018.
  • "Plasma Compression Fusion Device". USPTO (20190295733). September 26, 2019.
  • "Laser augmented turbojet propulsion system". USPTO (20170313446). July 25, 2006.

See also

References

  1. 1 2 3 Brett Tingley; Tyler Rogoway (June 28, 2019). "Docs Show Navy Got 'UFO' Patent Granted By Warning Of Similar Chinese Tech Advances". The Drive. Retrieved December 6, 2019.
  2. Pais, Salvatore Cezar (1993). Design of an experiment for observation of thermocapillary convection phenomena in a simulated floating zone under microgravity conditions / by Salvatore Cezar Pais. Case Western Reserve University (Thesis). Retrieved December 6, 2019.
  3. Pais, Salvatore Cezar (1999). "Bubble Generation in a Continuous Liquid Flow Under Reduced Gravity Conditions" (PDF). Case Western Reserve University. Cleveland. p. ii.
  4. Ostrach, S.; Kamotani, Y. (June 1996). "STDCE" (PDF). Ntrs.nasa.gov. NASA. Retrieved December 10, 2018.
  5. Pais, Salvatore Cezar (July 1999). "Bubble Generation in a Continuous Liquid Flow Under Reduced Gravity Conditions". NASA Technical Reports Server. Retrieved December 6, 2019.
  6. 1 2 US 10144532B2, Salvatore Cezar Pais, "Craft using an inertial mass reduction device", published 2018-12-04, issued 2018-12-04, assigned to United States Secretary of the Navy
  7. 1 2 US 20190295733A1, Salvatore Cezar Pais, "Plasma Compression Fusion Device", published 2019-09-26, assigned to United States Secretary of the Navy
  8. 1 2 3 4 Brett Tingley (February 1, 2021). "The Navy Finally Speaks Up About Its Bizarre "UFO Patent" Experiments". The Drive. Retrieved February 4, 2021.
  9. Tingley, Brett (January 22, 2020). "The Secretive Inventor Of The Navy's Bizarre 'UFO Patents' Finally Talks". The Drive. Retrieved August 29, 2023.
  10. US 20190058105A1, Salvatore Cezar Pais, "Piezoelectricity-induced Room Temperature Superconductor", published 2019-02-21, assigned to United States Secretary of the Navy
  11. Troy Carter (February 22, 2019). "Navy files for patent on room-temperature superconductor". phys.org. Retrieved December 6, 2019.
  12. "US Navy scientist files 'revolutionary' superconductor patent claim". Engineering & Technology. February 25, 2019. Retrieved December 13, 2019.
  13. Brett Tingley; Tyler Rogoway (October 9, 2019). "Scientist Behind The Navy's "UFO Patents" Has Now Filed One For A Compact Fusion Reactor". The Drive. Retrieved December 6, 2019.
  14. Stephen Kuper (November 1, 2019). "Player two has entered the game: US Navy files fusion reactor patent". Defence Connect. Retrieved December 6, 2019.
  15. Jennifer Leman (October 10, 2019). "The Navy's Patent for a Compact Nuclear Fusion Reactor Is Wild". Popular Mechanics. Retrieved December 6, 2019.
  16. US 10135366B2, Salvatore Cezar Pais, "Electromagnetic field generator and method to generate an electromagnetic field", published 2018-11-20, issued 2018-11-20, assigned to United States Secretary of the Navy
  17. US 10322827B2, Salvatore Cezar Pais, "High frequency gravitational wave generator", published 2019-06-18, issued 2019-06-18, assigned to United States Secretary of the Navy
This article is issued from Wikipedia. The text is licensed under Creative Commons - Attribution - Sharealike. Additional terms may apply for the media files.