Phosphoglycéride

Un phosphoglycéride — également appelé phosphatide, glycérophospholipide (GPL), phosphoglycérolipide ou encore phosphoacylglycérol — est un phospholipide constitué de deux résidus d'acides gras estérifiant un résidu glycérol lui-même estérifié par un résidu phosphate, cet ensemble formant un acide phosphatidique lié, à travers une liaison phosphodiester, à l'alcool (groupe hydroxyle) d'une molécule polaire telle que :

(en) Structure de différents glycérophospholipides. R1 et R2 représentent deux chaînes latérales d'acide gras, Z étant un résidu de molécule polaire.
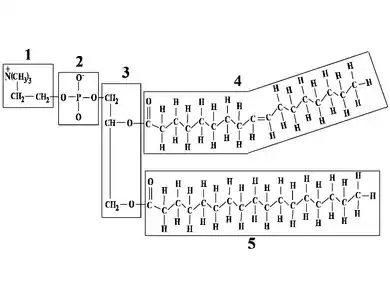
Formule développée d'un phosphoglycérolipide
Formule développée d'une phosphatidylcholine typique :
    1. choline,
    2. phosphate,
    3. glycérol,
    4. acide gras insaturé en C2 du résidu,
    5. acide gras saturé en C1 du résidu glycérol.

Les phosphoglycérides forment, avec les sphingomyélines, la classe des phospholipides.

Structure

Les phosphoglycérides sont des lipides organisés autour d'un résidu de glycérol-3-phosphate, à la différence des triglycérides qui ne contiennent pas de groupe phosphate mais sont au contraire formés de trois résidus d'acides gras estérifiant un résidu glycérol. Contrairement aux triglycérides, les phosphoglycérides sont des molécules clairement amphiphiles, c'est-à-dire constituées d'une tête polaire (hydrophile) et de queues aliphatiques (hydrophobes) :

  • le résidu glycérol, le groupe phosphate et le résidu polaire — souvent ionisé positivement — constituent la « tête » hydrophile de la molécule,
  • les résidus d'acides gras constituent les « queues » hydrophobes de la molécule.

Fonction

Comme tous les phospholipides, les phosphoglycérides s'organisent, en milieu aqueux, afin de minimiser les contacts entre les molécules d'eau et les queues aliphatiques de leurs molécules, ce qui conduit à des structures en micelle, en liposome ou en bicouche lipidique :

(en) Organisation des phospholipides en solution aqueuse.
Structure d'un plasmalogène.
Structure d'une cardiolipine.

C'est la base des structures vivantes, qui s'organisent toujours à partir d'une membrane cellulaire séparant l'intérieur de la cellule (soit le milieu intracellulaire), du milieu extracellulaire.

Exemples

  • icône décorative Portail de la chimie
  • icône décorative Portail de la biochimie
  • icône décorative Portail de la biologie cellulaire et moléculaire
  • icône décorative Portail de la médecine
Cet article est issu de Wikipedia. Le texte est sous licence Creative Commons – Attribution – Partage à l’identique. Des conditions supplémentaires peuvent s’appliquer aux fichiers multimédias.