Pincement (automobile)
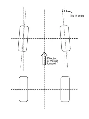
Dans le domaine de l'ingénierie automobile, le pincement ou l'ouverture est l'angle (rentrant ou sortant) que forme chaque roue d'un véhicule avec son axe longitudinal, et qui dépendant de la géométrie statique et des effets cinétiques. Au contraire du braquage qui agit aussi sur l'angle de dérive des roues mais les gardes parallèles, c'est-à-dire dirigées dans la même direction, le pincement impose des angles opposés : soit les roues convergent vers l'intérieur, soit elles divergent vers l'extérieur. Le pincement est positif (et on l'appelle aussi simplement pincement) si les roues pointent vers l'intérieur, ou négatif (et dans ce cas on l'appelle aussi ouverture) si les roues pointent vers l'extérieur[1]. Le pincement peut être mesuré en unité linéaires, à l'avant ou à l'arrière de la roue, ou plus généralement en mesure d'angle de dérive.

Description
Un pincement positif du train avant d'un véhicule améliore la stabilité en ligne droite, au prix d'une certaine paresse en entrée de virage, mais une meilleure reprise en sortie de virage. Un réglage négatif du pincement du train avant (aussi appelé ouverture) apporte une meilleure tenue en entrée de virage. A cause du pincement, les pneus s'usent un peu plus vite car ils subissent un glissement latéral quand le véhicule roule en ligne droite.
Dans les automobiles, le pincement est généralement réglable, alors que l'angle de chasse et le carrossage sont rarement réglables. Le réglage de la géométrie de la suspension, constitué des trois réglages, n'implique plus que le pincement ; dans la plupart des cas, même pour une voiture dans laquelle l'angle de chasse ou le carrossage sont réglables, seul le pincement devra être ajusté. Le pincement est réglable seulement sur les roues avant.
Un concept connexe est que le pincement optimal pour le déplacement d'un véhicule en ligne droite ne convient pas à un déplacement en virage, car la roue intérieure doit se déplacer dans un rayon plus petit que la roue extérieure ; pour compenser cela, la liaison mécanique de la direction doit être plus ou moins conforme à la géométrie directionnelle d'Ackermann, adaptée aux caractéristiques propres du véhicule.
Véhicules rail-route
Les roues avant des véhicules rail-route sont toujours réglées avec un pincement positif de 6 mm par mètre. Contrairement au matériel roulant ferroviaire classique, les véhicules rail-route n'ont pas toujours un axe commun entre les roues ferroviaires et l'angle de pincement permet d'éviter le mouvement de lacet du véhicule lorsqu'il roule sur les rails.
Interaction avec le carrossage
Lorsqu'une roue est réglée avec un certain angle de carrossage, l'interaction entre le pneu et la surface de la route fait que la roue a tendance à suivre une courbe, comme si elle suivait une surface conique (poussée de carrossage (en)). Cette tendance au virage augmente la résistance au roulement et l'usure des pneus. Un petit degré de pincement (en cas de carrossage positif) ou d'ouverture (en cas de carrossage négatif) annulera cette tendance au virage, réduisant l'usure et la résistance au roulement. Sur certains véhicules de compétition tels que les karts à pédales, où la puissance est extrêmement limitée et très réglementée par le règlement sportif, ces effets peuvent devenir très importants en termes de compétitivité et de performances. Le pincement et l'ouverture améliorent la stabilité de la direction.
Références
- (en) Cet article est partiellement ou en totalité issu de l’article de Wikipédia en anglais intitulé « Guenther Steiner » (voir la liste des auteurs).
- « Toe-out and Handling, steering geometry & front end alignment », sur auto-ware.com (consulté le )
Liens externes
- Camber, Caster, Toe - What does it all mean?
- Toe and Race Car Suspension Tuning
- Wheel Alignment: a Short Course
- Tirerack: Alignment, Thrust, Camber, Caster, Toe
- Portail de l’automobile